UNOBAT 78+ SYSTÈME SPORTIF SUR LAMBOURDES 
INFORMATIONS PRESCRIPTEUR ET INSTRUCTIONS DE POSE

D 18.1

 

D 18.1

 


1. INFORMATIONS PRESCRIPTEUR


 

INFORMATION
SYSTÈME SUR LAMBOURDES
UNOBAT 78+

D 1.0

Information Générale
Sol Sportif Junckers

D 18.1

Informations Prescripteuret
instructions de pose

Tableau 1

1.1 DESCRIPTION DU SYSTÈME

Le système sportif Junckers Unobat 78+ est constitué de parquet en bois massif de 22mm cloué sur un système de sous construction de simples lambourdes préfabriquées montées sur cales avec tampon amortissant intégré.

Les cales permettent de corriger rapidement les irrégularités du sol et de niveler le système pour l’obtention d’une surface de jeu plane idéale. Le nivellement du sol s’effectue sans utiliser ni clous ni outils.

Des cartons de bases compatibles avec les cales ajustables sont disponibles dans différentes épaisseurs (20, 30, 40, 50 mm) afin de pouvoir augmenter facilement la hauteur du système suivant les besoins. On peut utiliser jusqu’à 2 bases maximum par cale.

Distance entre les lambourdes : Au choix 336 ou 411 mm. Cet espace est déterminé en fonction des caractéristiques fonctionnelles sportives requises et/ou de la résistance demandée. Si le parquet est utilisé pour le basketball, ou si une tribune télescopique doit y être installée, alors un espacement de 336mm entre lambourdes est requis.

Lambourdes murales /pignons : Pour éviter la déflexion du parquet le long des murs, des lambourdes spéciales (Gable battens) 39x40mm sont utilisées comme point de départ, et sont incluses dans le système. Ce type de lambourde est mise à niveau en utilisant les cales DuoWedge

Hauteur du système : min. 78 mm et max. 205 mm.

Performances : Ce système de sol est un sol sportif élastique avec un niveau élevé de résilience et d’absorption des chocs. Idéal pour les salles de sport multifonctionnelles, les arenas, et le squash. Le système sportif Junckers Unobat 78+ est testé et approuvé selon la norme sportive européenne EN 14904, classe A4, et FIBA niveau 1.

Réduction sonore de bruit de pas dans le cadre d’une pose sur dalle béton. Lames de parquet massif 22 mm sur système de lambourdes UnoBat 78+: 21 dB. Pour des informations générales sur l’acoustique et sur les instructions pratiques sur l’acoustique dans les constructions utilisant des parquets Junckers, se référer à la fiche E 5.0.

Pour en savoir plus : Veuillez noter que la documentation complète de ce système de parquet sportif comprend les informations générales, ainsi que la fiche d’information prescripteur avec les instructions de pose. Cf Tableau 1. Pour toute question, veuillez contacter le service technique de Junckers.

1.2 COMPOSANTS DU SYSTÈME – SYSTÈME DE LAMBOURDES UNOBAT 78+

  1. Parquet massif sportif 2 Frises Junckers
    Épaisseur x largeur x longueur :
    22 x 129 x 3700 mm

    Essence de bois, qualité, et finition :
    Cf Fiche technique B 2.0 

  2. Clous Junckers J-Nails (Pour pistolet Cloueur) 
    Clous 2,2 x 45 mm spécialement développés avec une grande résistance au cisaillement et à l’arrachement

  3. Lambourdes en lamibois
    27 x 60 x 3360 mm 

    Gable battens 39 x 40 x 3600 mm 

    Distances entre les lambourdes:
    c/c 336,4 mm (336)
    c/c 411,1 mm (411)

    Les lambourdes Unobat 78+ sont fabriquées à partir d’épicéa et/ou pin, avec une teneur en humidité comprise entre 8 et10 %.

  4. Cales
    Cale ajustable Unobat 78+ Wedge. 

  5. Barrière anti-humidité
    Polyane. 0,20 mm. 

  6. Espace de dilatation entre la lame et le mur
    1.5 mm par mètre de largeur de chaque côté, et 1 mm par mètre de longueur au niveau de chaque mur, tout en respectant un espace minimal de 30 mm. Espace requis également au niveau des points fixes (exemple colonne). L’espace est recouvert par la plinthe 

Fig. 1

1.3 RÉSISTANCE À LA CHARGE

Ce système est conçu pour garantir de bonnes propriétés techniques par rapport aux charges attendues dans le cadre d’activités sportives. Afin d’éviter des déformations dommageables, une butée est intégrée au système de sous construction. Celle-ci s’active en cas de charges élevées. La butée n’a aucun impact sur l’utilisation du parquet sportif.

Capacité de charge ponctuelle
Le système de lambourdes UnoBat 78+ est testé et approuvé pour les charges ponctuelles maximales mentionnées ci-dessous en fonction de la surface de charge, et de l’entraxe entre les lambourdes (411 ou 336 mm).

Le tableau N° 2 indique la capacité de charge maximale des charges ponctuelles en fonction de l’espace entre les lambourdes recommandé.

Tableau N° 2

 

Entraxe 336 mm: 

Entraxe 411 mm: 

Diamètre 25 mm: 4,5 kN (environ. 450 kg)

Diamètre 25 mm: 4,0 kN (environ. 400 kg)

100x100 mm: 6,0 kN (environ. 600 kg) 

100x100 mm: 5,5 kN (environ. 550 kg)

Le tableau N°3 montre l’utilisation du parquet en fonction des catégories de charge définies par la norme EN1991-1-1, correspondant à des exigences de résistance aux charges et à une rigidité acceptable. La résistance du système aux charges roulantes y figure également.

Pour plus d’information sur les classes et les types de charges, Cf fiche technique D1.0 Rigidité et résistance à la charge.

Tableau 3 

Type de charge

Catégories de charges

Charges ponctuelles et surfaciques

Charges roulantes

C4: : Salles pour l’activité physique, ex : gymnases/théâtres

Approuvé* 

Approuvé**

C5: Salles recevant du public, ex. Salles de sport avec tribunes

Approuvé* 

Approuvé**

* Zone de charge ponctuelle min 200 x 200 mm / ** Charges roulantes, Cf fiche technique D 1.0 - Tableau 2


1.4 PLANÉITÉ DE LA SOUS-STRUCTURE

Après installation, la face supérieure des lambourdes doit être plane avec une tolérance maximum de 2mm sous une règle de 1,5m dans le sens de la largeur et de la longueur.

Fig. 2

1.5 RÈGLE DES 10 LAMES

Pour minimiser le travail du bois et l'humidité dus à des changements de température ou d'hygrométrie au sein du bâtiment, les lames doivent être posées selon la règle des 10 lames Cette distance doit être contrôlée en permanence pendant et après l'installation, voir Fig. 2.

Pour conserver la dimension de 10 lames (10 BM), il est recommandé d'utiliser des espaceurs Junckers lors de la pose du parquet. Les espaceurs sont livrés dans une gamme de tailles adaptées à l'humidité relative prévue de la pièce. 

Fig. 3

La mesure des 10 lames est calculée en fonction de l'humidité relative maximum prévue dans le bâtiment, lorsque celui-ci est utilisé, sur une année, voir Fig. 3

Le tableau de la fig. 3 illustre la règle des 10 lames calculée en fonction de l’humidité relative maximum prévue dans le bâtiment. Exemple : une humidité relative attendue de maximum 65% RF nécessitera une mesure de 10 lames d’environ 1294mm.

Les limites extérieures de la mesure de 10 lames, qui dépendent également de la taille du sol, sont marquées par des lignes pointillées.
La superficie totale du sol ainsi que l’emplacement du parquet (rez-de-chaussé ou étage) peuvent influencer le calcul de la mesure des 10 lames

Pour plus d’information, veuillez contacter le service technique Junckers.


Fig. 4

1.6 ISOLATION THERMIQUE ET CANALISATIONS

Le système de lambourdes offre une bonne opportunité d’intégrer une isolation thermique.

Il doit y avoir une ventilation suffisante entre le dessous des lames de parquet et l'isolation. Ceci afin d'éviter les attaques fongiques dans la structure du parquet.

Tous les tuyaux de chauffage central, d'eau froide et d'eau chaude sous le parquet doivent être soigneusement isolés avec au moins 20 mm de laine minérale ou similaire.

Prévoir un espace suffisant entre le dessous des lames/lambourdes et l'isolant des canalisations pour ne pas entraver les mouvements verticaux du parquet, voir Fig. 4.

1.7 PROTECTION CONTRE L’HUMIDITÉ

Chapes en béton :
L'humidité résiduelle contenue dans le béton ou la chape ne doit pas dépasser 90 % HR.

Entre le rez-de-chaussée et les étages supérieurs, une protection contre l'humidité doit être mise en place à l'intérieur du bâtiment et au niveau du sol.

Une barrière contre l'humidité est établie en posant une membrane hydrofuge comme une membrane PE de 0,20 mm ou un polyéthylène de 1000 g, (par exemple la barrière contre l'humidité Junckers SylvaThene), directement sur le béton avant la pose des lambourdes, voir Fig. 4 – (ligne pointillée).

Sous-constructions en bois :
Pour les projets de rénovation où de nouveaux systèmes de parquet sont installés sur des sous-planchers en bois existants, il faut s'assurer que l'ensemble de la structure a été conçu selon les spécifications correctes en matière d'humidité.

En règle générale, aucune protection supplémentaire contre l'humidité ne doit être appliquée sur le sol sportif existant, car cela peut entraîner un risque d'attaques fongiques dans la sous-construction.


1.8 VENTILATION DE LA SOUS CONSTRUCTION

Pour le Royaume-Uni et l'Irlande
Il n'est généralement pas nécessaire de ventiler le vide de plancher à l'intérieur d'un système de plancher à lattes Junckers. Dans les cas où un DPM ventilé est utilisé, il sera généralement nécessaire d'utiliser une plinthe ventilée telle que la plinthe Combi de Junckers, où les entretoises de ventilation optionnelles doivent être spécifiées.

Exigences générales en dehors du Royaume-Uni et de l'Irlande
Dans certains pays, les réglementations locales en matière de construction stipulent que des plinthes avec fentes de ventilation doivent être utilisées dans les salles de sport, afin d'assurer une ventilation adéquate de la sous-structure. En outre, pour minimiser autant que possible les conséquences des fluctuations environnementales dans le bâtiment, le même climat doit être maintenu à la fois au-dessus et au-dessous de la surface du sol.

La plage d'humidité relative prévue sera généralement respectée grâce à la ventilation naturelle par les fentes d'aération susmentionnées. Par ventilation naturelle, nous entendons que le flux d'air sera la conséquence du mouvement de la surface du sol pendant les activités sportives normales.

 

1.9 CONSOMMATION NETTE DES MATÉRIAUX

Consommation nette pour 1000 m² (Longueur x largeur = 40 x 25 m) Système de lambourdes UnoBat 78+ :

Lames de parquet : 1000 m² + environ 2 % de perte
J-nails, 2,2 x 45 mm : entraxe 336 mm: 25.000 pcs et entraxe 411 mm: 20.000 pcs.
Lambourdes UnoBat 78+ : entraxe 336 mm: 2950 ML + 2 % de perte. et entraxe 411 mm: 2450 ML + 2 % de perte
Lambourde Pignon Gable battens : 50 rm

Cales ajustables Unobat 78+ wedge :
entraxe 336 mm: 7100 pcs soit 7.1 pcs/m²
entraxe 411 mm: 5800 pcs. soit 5.8 pcs/m²

Cales Duowedges pour lambourdes pignon : 160 pcs. (entraxes 336/411 mm)
Fausses languettes : Environ. 70 pcs. (soit 5 sachets)
Barrière anti-humidité Junckers SylvaThene Feuille PE de 0,20 mm : 1100 m² perte incluse
Colle Sylvafix Junckers pour collage des bouts de lames : 3 bidons 0,75 litre


2. INSTRUCTIONS DE POSE


QUAND COMMENCER L’INSTALLATION

Le bâtiment doit être étanche. Le système de chauffage doit être installé et testé, et pendant la saison de chauffage, le volume en chaleur doit être constant.

Les éléments en béton coulé, y compris le coulage des fourreaux pour les appareils et les accessoires, la chape et les autres travaux humides qui peuvent apporter de l'humidité au bâtiment, par exemple l'application d'une couche d'apprêt sur la peinture, doivent également être terminés.

L'humidité relative dans le bâtiment doit être comprise entre 35 et 65 % HR (UK) et la température doit être d'environ 16 à 20 °C.

L'humidité résiduelle contenue dans le béton ou la chape ne doit pas dépasser 90 % HR. (UK : 75 % selon BS 8201). Dans les planchers en bois, le taux d'humidité ne doit pas dépasser 12 %.

Les lames de parquet massif doivent toujours être posées immédiatement après leur arrivée dans le bâtiment. L'emballage des lames de parquet ne doit être enlevé que juste avant la pose du parquet, c'est-à-dire qu'il ne doit pas y avoir d'acclimatation des lames sur le chantier.


2.1 BARRIÈRE ANTI HUMIDITÉ

Sur les sous-sols en béton, une barrière anti-humidité d'au moins 0,20 mm de membrane PE est posée, par exemple la barrière anti-humidité Junckers SylvaThene.

La barrière anti-humidité est posée avec un chevauchement de 200 mm à tous les joints, en continuant le long des murs, etc.

Le polyéthylène doit être collé à tous les joints de recouvrement.


2.2 JOINTS DE DILATATION AU NIVEAU DES MURS ET DES POINTS FIXES

Le joint de dilatation minimum au niveau des murs et des points fixes doit être de 30 mm afin de permettre le mouvement du parquet, mais aussi d'assurer la ventilation de la sous-structure. Dans le cas de surfaces particulièrement larges, il peut être nécessaire de former un espace de plus de 30 mm.

Celui-ci est calculé à raison de 1,5 mm par M de largeur de chaque côté et de 1 mm par M de longueur à chaque extrémité du parquet. Pour les salles de moins de 10 M de large, la taille minimale du joint de dilatation peut être réduite à 15 mm.

L'espace entre le mur et le parquet est couvert par la plinthe sportive combinée Junckers.

2.3 SOUS-CONSTRUCTION, ENTRAXE DES LAMBOURDES 411 MM

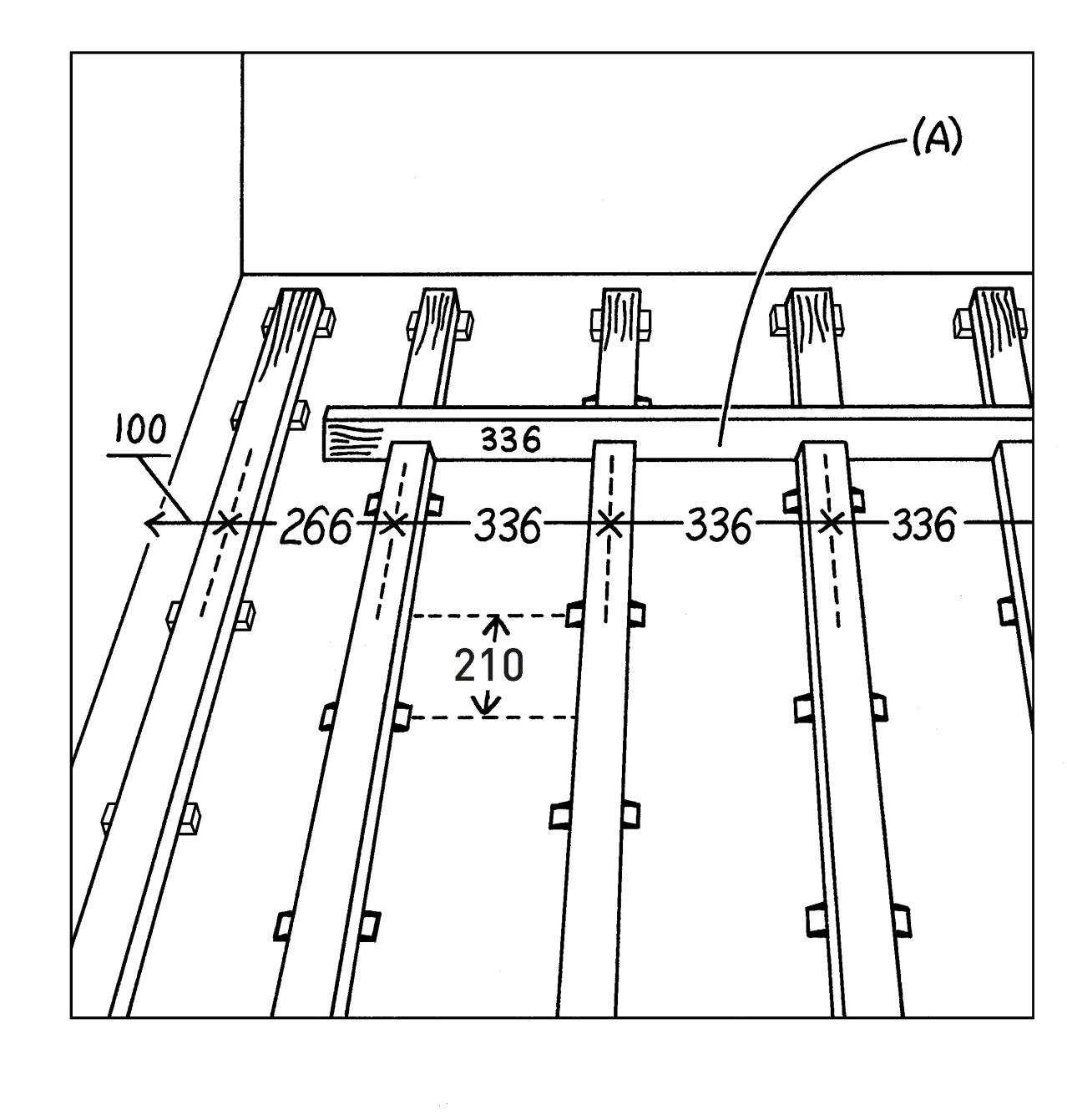
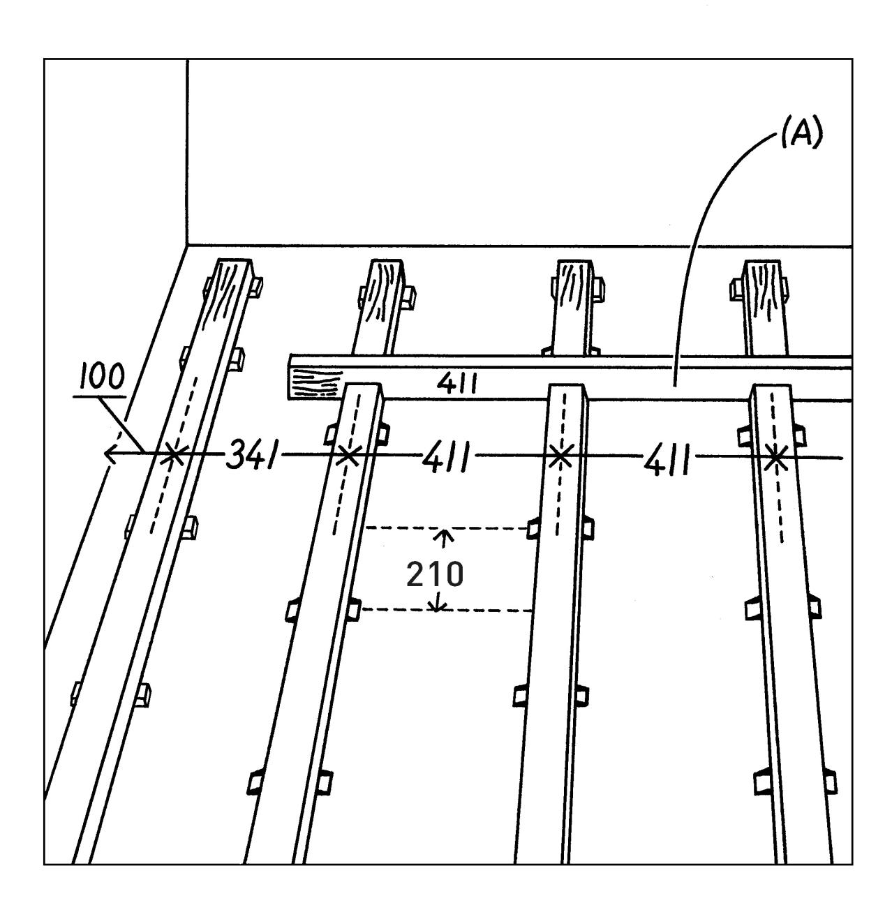
Les lambourdes sont posées parallèlement au côté le plus court (largeur) de la pièce afin de garantir que les lames soient posées parallèlement au côté le plus long de la pièce (longueur). Avant de poser les lambourdes, les cales Unobat 78+ fournies avec le système doivent être clipsées aux lambourdes. Voir section 2.5.

La première et la dernière rangée de lambourdes sont posées à une distance de 100 mm du mur (distance à l’axe de la lambourde). (Noter qu'il s'agit de lambourdes spéciales sans patin amortissant « Gable Batten » et avec une marque rouge sur les ballots).

La 2ème rangée de lambourdes doit être posée avec un entraxe de 341 mm par rapport à la première rangée.
Toutes les autres rangées de lambourdes sont posées à un entraxe de 411,1 mm en utilisant le gabarit de pose "Spacing Batten" (A) (avec une marque noire sur les ballots). 1 lame de parquet de 3700mm / 9 lambourdes.

Les cales sous les lambourdes sont disposées en quinconce avec un écart de 210 mm par rapport à la lambourde adjacente. Les extrémités des lambourdes ne doivent pas être alignées mais disposées en quinconce avec un espacement minimum de 600 mm de la rangée adjacente. Utilisez des agrafes pour maintenir les extrémités des lambourdes ensembles. Longueur maximale des agrafes : 25 mm.


2.4 SOUS-CONSTRUCTION, ENTRAXE DES LAMBOURDES 336 MM

Hormis la distance entre les lambourdes, les instructions de pose sont exactement les mêmes que ci-dessus dans la section 2.3.

La première et la dernière rangée de lambourdes sont posées à une distance de 100 mm du mur.

La 2ème rangée de lambourdes doit être posée avec un entraxe de 266 mm par rapport à la première rangée.

Toutes les autres rangées de lambourdes sont posées à un entraxe de 336,4 mm en utilisant le gabarit de pose "Spacing Batten" (A) (avec une marque noire sur les ballots).

1 lame de parquet de 3700mm / 11 lambourdes.

2.5 ÉLÉVATION ET MISE À NIVEAU

Les lambourdes (1) sont mises à niveau en utilisant les cales UnoBat 78+ Wedges (2).
Les lambourdes pignon (Gable Battens) (3) sont mises à niveau en utilisant les cales DuoWedges (4).

Des cales supplémentaires sont montées à chaque extrémité des rangées de lambourdes y compris au niveau de la dernière lambourde placée contre le mur. Ces cales au niveau du mur sont exceptionnellement fixées aux lambourdes à l’aide de vis. De cette manière les cales sont solidement maintenues pour éviter toute déflexion du parquet le long des murs. Les cales Unobat 78+ sont clipsées sous la lambourde aux endroits marqués d’une ligne rouge. Chaque lambourde nécessite 8 cales.

Les cales micrométriques peuvent être utilisées seules ou combinées avec des bases clipsables de 20, 30, 40 ou 50 mm pour atteindre le bon niveau.
Ne pas utiliser plus de 2 bases sous chaque cale.


2.6 LAMBOURDES AUX POTEAUX, CANALISATIONS, ETC.

Installer des lambourdes supplémentaires au niveau des poteaux de jeu, des canalisations etc. Les lambourdes supplémentaires doivent être élastiques.

En ce qui concerne la distance aux murs, trappons... voir Section 2.2

Squash :
Si le parquet est utilisé comme terrain de squash, installer des espaceurs permanents distants de 500 mm (entraxe) entre la première rangée de lambourdes et le mur de jeu.


2.7 INSTALLATION DES LAMES DE PARQUET

Si la surface du sol a une largeur supérieure à 12 M, l'installation doit commencer au milieu de la salle de sport. Utilisez l'une des deux méthodes suivantes :

A. Les deux lames centrales sont reliées par une fausse languette qui doit être collée à l'une des lames sur toute la longueur de la lame.
B. Utilisez les lames de démarrage au centre Junckers CenterRow. Ces lames sont dotées d'une languette des deux côtés.

Les lames doivent être posées de manière continue avec une distribution bien définie des joints de tête de lame d'une rangée à l'autre de 2 x l'entraxe des lambourdes, c'est-à-dire 822,2 mm pour un entraxe 411,1 mm, ou 4 x l'entraxe des lambourdes, c'est-à-dire 1345,6 mm pour un entraxe 336,4 mm. De cette manière, tous les joints de tête des lames sont soutenus par une lambourde. Les lames sont clouées aux lambourdes de manière invisible. Voir section 2.10.

2.8 DISTANCE, JOINTS DE BOUTS DE LAMES- C/C 411 MM

Tous les joints de bouts de lame doivent être entièrement soutenus et, en fonction de l'entraxe des lambourdes (336 ou 411 mm), toutes les lames doivent être posées selon le schéma indiqué sur le dessin.

Si l'entraxe des lambourdes est de 411,1 mm, la distance entre les joints de bouts de lames de deux rangées consécutives doit être de 2 x 411,1 mm = 822,2 mm, comme indiqué sur le dessin


2.9 DISTANCE, JOINTS DE BOUTS DE LAMES - C/C 336 MM

Si l'entraxe des lambourdes est de 336,4 mm, la distance entre les joints de bouts de lames de deux rangées consécutives doit être de 4 x 336,4 mm = 1345,6 mm, comme indiqué sur le dessin.


2.10 CLOUAGE

Uilisez les clous J-Nails du cloueur Junckers, 2,2 x 45 mm. Les lames du parquet sont clouées à un angle de 45°. Ne pas clouer à moins de 50 mm des joints des bouts de lames et jamais dans les joints d'extrémité des lames.

Pour éviter les grincements, les lames de plancher sont pressées sur les lambourdes pendant qu'elles sont clouées.

La distance entre les lames de parquet et les murs ou les installations fixes verticales est de 1,5 mm par mètre linéaire de largeur de parquet de chaque côté, et de 1 mm par mètre linéaire de longueur de parquet au niveau des murs d'extrémité, avec une distance totale de 30 mm minimum.

La première et la dernière rangée de lames de parquet posées doivent être clouées ou vissées sur leur face avant d'être recouvertes d'un enduit de rebouchage assorti.

N'OUBLIEZ PAS, LORS DE LA POSE, DE SURVEILLER LA MESURE FIXE DE 10 LAMES.

2.11 TRAPPONS

Lors du montage des trappons dans le parquet, le diamètre intérieur doit dépasser celui du fourreau, c'est-à-dire le diamètre extérieur du poteau du filet, d'au moins 40 mm.

Dans les zones les plus extérieures de la surface du terrain, tous les trappons sont montés de manière excentrée vers le milieu du terrain par rapport aux fourreaux dans le béton.

NB : Les trappons doivent être montés de manière à permettre un mouvement vertical et horizontal du parquet sans entrave.


2.12 PLINTHES COMBI SPORTS

La plinthe Junckers Combi Sports peut, en fonction de la largeur de couverture souhaitée, être montée à la verticale ou en position couchée, voir la figure.

Le pied de la plinthe doit être en contact avec le sol. Les joints d'extrémité peuvent être aboutés ou coupés en onglet à 45° pour améliorer l'effet visuel du joint.

La plinthe peut être fixée aux murs par collage ou par vissage.

Ne pas fixer la plinthe au parquet et s'assurer que la plinthe n'exerce pas de pression vers le bas sur le plancher.

keyboard_arrow_up



picture_as_pdf